| [打印] | 
概述
      自动扶梯和电梯一样都是公共场所运送乘客的典型设备,已在商场、机场、地铁、火车站等场所广泛应用。传统的扶梯通常由普通继电器控制,采用三相异步电动机拖动。现在由于扶梯自动化及安全性能的逐步提高,仍采用传统的继电器控制方式已不能满足更高性能的要求,另外由于继电器控制方式的固有缺点,如:控制烦琐、布线杂多、占用空间大、故障率高、不易检修等缺点,因此随着电子逻辑器件、大规模集成电路的出现;诸如像单片机、PLC在控制系统上的应用也越来越多。在自动扶梯中有些厂家也采用PLC 做为控制核心。但PLC 有其应用的局限性,比如说输入输出对电源电压的要求、价格高等因素,因此在自动扶梯的控制上采用PLC 并不是最理想的。
      针对一些控制要求输入输出点数较少、控制要求不是很复杂的场合,我公司开发出一款具有很强的逻辑控制功能,可现场编程,有输入输出功能、体积很小、性价比很高的智能控制单元——SG2,正好能实现对像自动扶梯系统这类产品的核心控制。
控制系统构成
      扶梯采用11KW三相异步电动机拖动,要求具有电动机降压启动电路、电动机正反转电路、安全急停电路、检修电路、照明电路。如果要完成上述功能还要考虑控制柜的控制性能、体积、价格,显然智能控制继电器SG2是最理想的控制单元。
(一)硬件部分
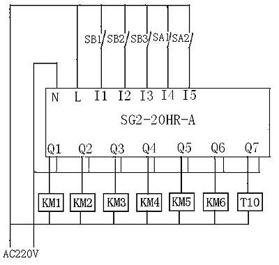
      在此选择台安SG2-20HR-A,8路数字量输入、4路模拟量输入(可以当作数字量输入使用)、8路数字量输出,均为继电器输出方式。SG2是一种具有可编程的逻辑模块。在控制系统中起到逻辑控制功能。
      统硬件组成:平行按扭、转换开关、急停按扭、交流接触器、热继电器、SG2-20HR-A、继电器、变压器、断路器等组成。  
      SG2的接线:SG2的电源电压范围为110~240VAC。它可以直接输入交流220V 电压做为输入电源。输入端子分别为I1~I8、A1~A4。输出端子为Q1~Q8,在此自动扶梯控制系统中只用了输入I1-I5(与按扭接点连接),输出Q1~Q7(与接触器线圈连接)。

上图中各元件表示:  
——————SB1:上行按扭  
——————SB2:下行按扭  
——————SB3:检修转换开关  
——————SA1:急停按扭  
——————SA2:急停继电器触点  
——————KM1:电动机星型启动接触器  
——————KM2:电动机角运行接触器  
——————KM3:电动机正转接触器  
——————KM4:电动机反转接触器  
——————KM5:运行接触器  
——————KM6:抱闸继电器  
——————T10:照明继电器 
(二)软件部分   
      在设计扶梯控制程序之前,首先要确定电路的输入量和输出量(见图1)。根据输入、输出端子的规划及扶梯系统的动作流程编写相应程序。   
      台安SG2程序编写相当简单方便,用户可以用电脑或PDA编写程序然后通过编程电缆PL01下载到SG2,也可在现场使用SG2自带的的操作面板(带按键和液晶显示)输入。根据用户的使用习惯及操作方法SG2的编程语言有SFB(顺序功能块)和LAD(梯形图)两种供用户选择,即都是我们在数学上学的“或”“与”“非”等逻辑符号来表达实际的电路逻辑关系,对于具体的编写操作方法可参考SG2的使用手册。
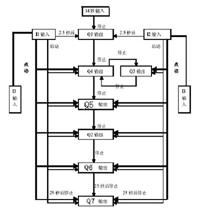
      现将自动扶梯程序流程图表示如下:

图2 中的粗线粗字表示当在I3 输入有效时的输出流程
动作过程
      当按下SB1 按钮上行(I1 输入信号有效),输出主Q2、主Q4、扩展Q5、扩展Q6、扩展Q7、延时2.5 秒后输出主Q1。即当按下上行按钮SB1 时, 电动机星型启动接触器K1.1、上行接触器K2.2、正常运行接触器K10、制动继电器MD、照明继电器K25 吸合,延时2.5秒后电动机角运行接触器吸合(星启动接触器断开)。这一过程是电动机的星三角启动,打开扶梯照明,打开制动器,使之上行的过程。当按下SA 急停按钮时,以上输出除Q7(照明继电器)外其他全部停止输出。由于扶梯停止后还须照明,而不能立即停止,故扶梯停止后延时25 秒后自动停止扶梯照明。 
      当按下SB2 按钮下行(I2 输入信号有效)时输出主Q3,连锁停止Q4,其它与上相同。(Q3 与Q4 和Q1 与Q2 的输出是互锁的) 
      当按下SA 检修按钮时(I3输入信号有效),扶梯进入检修状态,按下SB1 或SB2 按钮,扶梯只能运行在星启动模式下(Q3 或Q4 输出),不能进入正常电动机角运行模式(Q1 不能输出)。其他同上。 
      当扶梯在任何运行状态,若I4 或I5中由一个信号输入有效时,SG2将停止一切输出,K25(Q7)延时25 秒后停止输出。
总结
      台安SG2在自动扶梯控制上的应用是非常成功的!在应用的过程中总结出如下几点: 
⑴ 体积相对小 
⑵ 性能价格比高  
⑶ 编程方便(适用于控制不是很复杂的场合)
