| [打印] |
在常规变频电气电路设计中,变频器到电机都采用直连的方式。但在电梯的控制中,因标准《GB7588-2003电梯制造与安装安全规范》(以下简称《GB7588》)12.7.3的规定:
12.7.3 交流或直流电动机用静态元件供电和控制应采用下述方法中的一种:
1)用两个独立的接触器来切断电动机电流。
电梯停止时,如果其中一个接触器的主触点未打开,最迟到下一次运行方向改变时,必须防止轿厢再运行。
2)一个由以下元件组成的系统:
a)切断各相(极)电流的接触器。
至少在每次改变运行方向之前应释放接触器线圈,如果接触器未释放,应防止电梯再运行。
b)用来阻断静态元件中电流流动的控制装置。
c)用来检验电梯每次停车时电流流动阻断情况的监控装置。
在正常停车期间,如果静态元件未能有效的阻断电流流动,监控装置应使接触器释放并应防止电梯再运行。
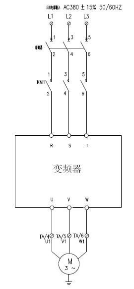
变频器到电机间加装运行接触器,如下图所示:

图1 常规变频电气电路
图2 电梯变频电气电路
在电梯上使用同步电机后,驱动回路增加了电机的封心回路(图2)。我们在实际使用中,发生运行接触器非正常断开时,变频器会出现“过流”故障,甚至损坏功率模块。
这是因为在变频器驱动电机时,运行接触器突然断开,接触器要切断大电流,在这瞬间接触器触点间产生拉弧(图3),而电弧使电流继续流通直至接触器触点完全断开电弧熄灭,而此时,接触器的常闭触点开始接通,导致变频器输出瞬间短路(图4)。

图3 接触器释放瞬间拉弧

图4 接触器断开时,电流流向
在实际使用中,为了避免此类问题发生损坏变频器,通常单独增加封心接触器,或增加运行接触器延时板。增加封心接触器会增加电气方案的使用成本,而增加运行接触器延时板,因其配置功率不同,参数配置较为麻烦且不稳定。
无锡英威腾德仕卡勒科技有限公司推出的EC100电梯智能整体机,在电梯电气方案中增加了独立的使能控制。此使能控制的原理是在变频驱动的DSP芯片上提供一个IO脚,作为独立的控制端口,其断开后,DSP芯片关断驱动模块,从而起到保护作用。
此使能控制信号是在变频驱动的DSP芯片上直接由硬件回路实现,有别于一般变频驱动的IO端口由MCU接收后通讯给DSP芯片,减少了IO扫描和通讯的时间,使其动作更快。

图5 使能控制信号
驱动的使能端口,在电路中,由运行接触器常开触点控制(图5),当遇到运行接触器突然断开时,能及时关断变频驱动输出电流,保护功率模块。
此方案既简化了电路,也降低了电气回路的整体成本。